去创作

用微信扫描二维码

分享至好友和朋友圈

年度盘点丨超3000亿元,专项债收地发力!

2025年,收回收购存量闲置土地是中央及地方改善市场供求关系的重要举措,随着配套政策不断完善,专项债收回收购存量闲置土地工作也不断取得新的进展,根据中指监测,截至12月末,全国各地公示拟使用专项债券收回收购存量闲置土地的数量已超5500宗,拟收储用地面积近3亿平方米,其中多省市已发行相应专项债券合计超3000亿元。

图片

公示情况:各地公示拟使用专项债收购存量土地金额超7500亿元,浙江为拟收储规模最大的省份


根据中指不完全统计,2025年全国各地公示拟使用专项债收回收购存量闲置土地的数量超5500宗,总用地面积近3亿平方米(若容积率平均按2计算,有望为市场去化约6亿平方米库存),总金额超7500亿元

表:各省市拟使用专项债收购存量闲置土地的规模(截至12月末)

图片

注:数据为不完全统计,已发行专项债的项目亦统计在内。

数据来源:各地自然资源局等官方网站,中指数据CREIS


从不同地区来看,31个省市中有26个省市公示拟使用专项债收购存量土地情况,其中浙江省公示拟收储金额超900亿元,位居第一,广东省公示拟收储金额超890亿元,位列其后;各城市中,重庆拟收储金额近700亿元,收储用地面积约2100万平方米,均居首位,杭州、温州拟收储金额均超200亿元;一二线城市公示地块合计约1250宗,拟收储金额超2700亿元,金额占比达36%。

从用地性质来看,住宅用地是收储主力。公示的地块中住宅用地宗数占比约66%,商办用地占比约24%,工业用地占比约6%。

从所有权来看,当前拟收储的土地中,绝大多数宗地属于地方国企,占比约85%,民企占比仅约13%;收储面积中,地方国企占比80%,民企占比约16%;收储金额中,地方国企占比近88%,民企占比仅约10%,央企中保利、华润、华侨城等均在列。在拟收储宗地数量超100宗的省市中,湖南、江西、新疆、四川等省市地方国企宗数占比超90%,而云南地方国企宗数占比为64%,民企、央企宗地占比相对较高。

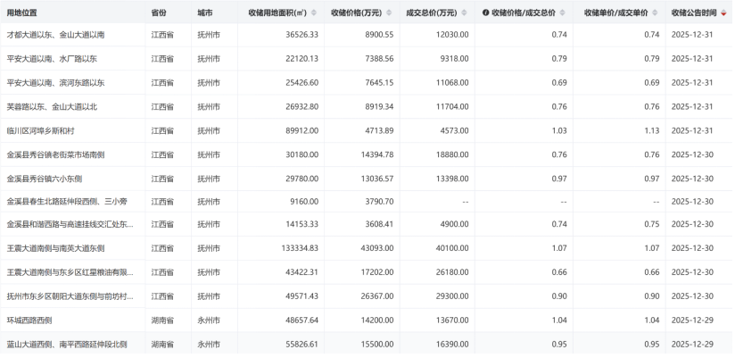
从收储价格来看,与出让时的成交单价相比,约47%的地块拟收储价格与成交单价的比值在0.8-1.0之间,约29%的地块比值在0.9-1.0之间,约18%的地块拟收储价格与成交价的比值在0.7-0.8之间,部分地块拟收储价格的折扣较大。从各地情况来看,宁夏、福建、广东等10个省市价格比值高于全国平均水平(0.82),广西、重庆等省市价格比值低于0.7,价格折扣相对较大。

更多拟使用专项债收购存量闲置土地的公示清单(包含拟收储价格、用地单位的企业类型等),请查看中指数据库。


图片


图片

专项债发行情况:全国已发行用于收购存量土地的专项债总额超3000亿元,约占拟收储总规模的40%


根据中指监测,2025年全国已发行的用于收购存量闲置土地的专项债总金额超3000亿元,约占拟收储总金额的40%,其中广东发行486亿元,居首位,湖南发行九批专项债,合计发行389亿元,位居第二,江西、重庆发行专项债金额在300亿元左右。各线城市中,一二线城市合计发行约970亿元,约占总发行金额的32%。

表:各省市拟使用专项债收购闲置存量土地及发债规模(截至12月末)
图片

注:专项债“自审自发”试点地区:北京市、上海市、江苏省、浙江省(含宁波市)、安徽省、福建省(含厦门市)、山东省(含青岛市)、湖南省、广东省(含深圳市)、四川省,河北雄安新区。

资料来源:中指研究院综合整理

从各月发行情况来看,四季度非“自审自发”试点地区中收购存量闲置土地专项债券相继落地发行,发行速度加快,四季度月均发行近370亿元,较三季度月均发行规模增长13.6%(三季度月均发行325亿元)。

各月收购存量闲置土地专项债券发行规模
图片

资料来源:中指研究院综合整理


图片

展望:预计2026年专项债收储存量土地将延续,继续改善市场供求关系


2025年全年各地累计发行新增专项债券约4.6万亿元,其中已发行用于收回收购存量闲置土地的专项债券占比约6.7%(2025年全国土储专项债券发行约5500亿元),同时已发行规模在拟收储中占比仅40%,仍有较大规模拟收储地块需要落地专项债。

12月中央经济工作会议、全国住建工作会议中均指出要“因城施策控增量、去库存、优供给”,而收储土地是去库存的重要抓手之一。12月末,上海临港控股股份有限公司披露其控股子公司位于上海临港新片区的一宗住宅用地将被上海市土地储备中心收储,拟收储价格合计26.25亿元,较其成交价折价约4%,为上海首宗拟收储住宅地块。预计2026年更多城市将持续推动存量闲置地块收储工作,加快库存去化,更好的提振市场预期,改善房地产市场供求关系。

更多精彩内容,关注云掌财经公众号(ID:yzcjapp)

以上内容仅供学习交流,不作为投资依据,据此操作风险自担。股市有风险,入市需谨慎! 点击查看风险提示及免责声明
热股榜
代码/名称 现价 涨跌幅
加载中...
加载中 ...
加载中...

二维码已过期

点击刷新

扫码成功

请在手机上确认登录

云掌财经

使用云掌财经APP扫码登录

在“我的”界面右上角点击扫一扫登录

  • 验证码登录
  • 密码登录

注册/登录 即代表同意《云掌财经网站服务使用协议》

找回密码

密码修改成功!请登录(3s)

用户反馈

0/200

云掌财经APP下载

此为会员内容,加入后方可查看,请下载云掌财经APP进行加入

此为会员内容,请下载云掌财经APP加入圈子

云掌财经
扫码下载

更多功能与福利尽在APP端:

  • 精选会员内容实时推送
  • 视频直播在线答疑解惑
  • 达人一对一互动交流
关闭
/